玻璃板液位计
- RZ-UB系列玻璃板液位计可用来直接指示密封容器中的液位高度,具有结构简单,直观可靠,经久耐用等优点,但容器中的介质必须是与钢、钢纸及石墨压环不起腐蚀作用的。适用于化工、石油等工业低温设备的液位指示装···
在线咨询

- 质量稳定
- 价格合理
- 交货快捷
- 樱桃视频APP下载网址仪表为您提供全套液位计系列解决方案
- 销售:0517-86917118 15601403222 、 13915181149
- 传真:0517-86917118
- 地址:江苏省淮安市金湖县金荷路201号
在线咨询
RZ-UB系列玻璃板液位计可用来直接指示密封容器中的液位高度,具有结构简单,直观可靠,经久耐用等优点,但容器中的介质必须是与钢、钢纸及石墨压环不起腐蚀作用的。适用于化工、石油等工业低温设备的液位指示装置。
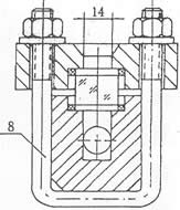
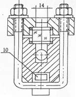
一、玻璃板液位计产品结构
仪表的上下阀上装有法兰接头,与容器连接构联通器,透过玻璃板直接指示容器布什的液位,“夹套型”设有加热或冷却装置。该装置加热时可用蒸气,冷却时可用循环水,这样可以调节流动性能,夹套型接管尺寸ZG1/4内螺纹。在上下阀内装有钢球,当玻璃板因意外事故破坏时,钢球在容器压力作用下,自动密封,防止容器内的液体继续外流。在仪表的上端针形阀装有阻塞螺钉,可供放气之用,下端针形阀也装有阻塞螺钉。可供放空、取样、排污、清洗。
二、玻璃板液位计技术数据
1、针形阀的自动关闭压力 ≥0.2MPa
2、夹套蒸气压力为 ≤0.6MPa
3、玻璃板的急变温差为 ≤240℃
注:我厂承接特殊规格的定货。
三、玻璃板液位计产品类型
|
名称
|
型号
|
公称压力MPa
|
介质温度℃
|
结构特征
|
(规格按上、下阀中心线间距离
|
标准号
|
||||||
|
结构形式
|
材料
|
L=304
|
L=500
|
L=800
|
L=1100
|
L=1400
|
L=1700
|
|||||
|
透光式玻璃板液位计
|
T2.5
|
2.5
|
-20~+250
|
普通型
|
I(碳钢)
II(1Cr18Ni9Ti) |
|
△
|
△
|
△
|
△
|
△
|
HG5-1364-80
|
|
夹套型
|
I(碳钢)
II(1Cr18Ni9Ti) |
|
△
|
△
|
△
|
△
|
△
|
|||||
|
T6.3
|
6.3
|
-20~+250
|
普通型
|
I(碳钢)
II(1Cr18Ni9Ti) |
|
△
|
△
|
△
|
△
|
△
|
HG5-1365-80
|
|
|
夹套型
|
I(碳钢)
II(1Cr18Ni9Ti) |
|
△
|
△
|
△
|
△
|
△
|
|||||
|
反射式玻璃板液位计
|
R4.0
|
4.0
|
-20~+250
|
普通型
|
I(碳钢)
II(1Cr18Ni9Ti) |
|
△
|
△
|
△
|
△
|
△
|
HG5-1366-80
|
|
夹套型
|
I(碳钢)
II(1Cr18Ni9Ti) |
|
△
|
△
|
△
|
△
|
△
|
|||||
|
R0.6
|
0.6
|
-20~+250
|
带颈衬里
|
III(碳钢衬里)
|
△
|
|
|
|
|
|
HG5-1367-80
|
|
|
带颈
|
I(碳钢)
II(1Cr18Ni9Ti) |
△
△ |
|
|
|
|
|
HG5-1368-80
|
||||
|
R
|
常压
|
-20~+250
|
衬里
|
III(碳钢衬里)
|
△
△ |
|
|
|
|
|
HG1369-80
|
|
|
嵌入联接
|
I(碳钢)
II(1Cr18Ni9Ti) |
△
△ |
|
|
|
|
|
HG5-1370-80
|
||||
|
RZ-UB系列玻璃板液位计外型尺寸图
|
安装、使用与维护
1、为了保证自动密超过计划作用,容器内的介质压力不得小于0.2MPa,在打开上下阀时,阀杆退出转数不少于4转(使钢球封门时,不致于碰到阀杆的**)。