1. 樱桃视频APP下载网址,樱桃视频入口在线观看,樱桃视频黄网站免费观看,樱桃视频APP污下载入口网站

        液位樱桃视频入口在线观看_智能压力樱桃视频入口在线观看_3051差压樱桃视频入口在线观看_单双法兰,投入式,电容式,温度樱桃视频入口在线观看-淮安樱桃视频APP下载网址仪表科技有限公司

        咨询热线

        0517-86917118

        产品直通车

        液位樱桃视频入口在线观看系列
        液位压力樱桃视频入口在线观看 法兰式液位樱桃视频入口在线观看 静压式液位樱桃视频入口在线观看 压力液位樱桃视频入口在线观看 GPRS无线远传压力|差压|液位|樱桃视频入口在线观看,液位计 单法兰液位樱桃视频入口在线观看 防腐投入式液位樱桃视频入口在线观看 差压液位樱桃视频入口在线观看 磁翻板液位樱桃视频入口在线观看 双法兰液位樱桃视频入口在线观看 电容式液位樱桃视频入口在线观看 浮球液位樱桃视频入口在线观看
        差压樱桃视频入口在线观看系列
        压差樱桃视频入口在线观看 差压樱桃视频入口在线观看 微压差樱桃视频入口在线观看 双法兰差压樱桃视频入口在线观看 防爆差压樱桃视频入口在线观看 差压流量樱桃视频入口在线观看 智能差压樱桃视频入口在线观看
        压力樱桃视频入口在线观看系列
        隔膜压力樱桃视频入口在线观看 3051压力樱桃视频入口在线观看 卫生型压力樱桃视频入口在线观看 微压压力樱桃视频入口在线观看 平膜压力樱桃视频入口在线观看 数显压力樱桃视频入口在线观看 扩散硅压力樱桃视频入口在线观看 ***压力樱桃视频入口在线观看 电容压力樱桃视频入口在线观看 3351压力樱桃视频入口在线观看 单晶硅压力樱桃视频入口在线观看 小巧型压力樱桃视频入口在线观看
        液位计系列
        电容式液位计 超声波液位计 浮标液位计 压力式液位计 石英管液位计 差压液位计 磁翻板液位计 玻璃板液位计 磁浮子液位计 侧装磁翻板液位计 雷达液位计 磁浮球液位计

        樱桃视频APP污下载入口网站资讯

        咨询热线:0517-86917118

        咨询手机:15601403222

        咨询手机:13915181149

        传真号码:0517-86917118

        公司邮箱:harzyb@163.com

        公司地址:江苏省淮安市金湖县金荷路201号

        差压樱桃视频入口在线观看
        您的位置: 首页>>所有产品>>差压樱桃视频入口在线观看系列

        差压樱桃视频入口在线观看

        • RZ3051-DP差压樱桃视频入口在线观看的3种应用测量方式:(1) 差压樱桃视频入口在线观看与节流装置相结合,根据节流装置前后产生的差压值换算流速(2) 利用液体自身重力产生的压力差,测量液体的高度(3) 直接测量不同管道、密···
        • 在线咨询
        • 质量稳定
        • 价格合理
        • 交货快捷
        • 樱桃视频APP下载网址仪表为您提供全套差压樱桃视频入口在线观看系列解决方案
        • 销售:0517-86917118    15601403222 、 13915181149
        • 传真:0517-86917118
        • 地址:江苏省淮安市金湖县金荷路201号
        • 产品详情

        RZ3051-DP差压樱桃视频入口在线观看的3种应用测量方式:

        (1) 差压樱桃视频入口在线观看与节流装置相结合,根据节流装置前后产生的差压值换算流速
        (2) 利用液体自身重力产生的压力差,测量液体的高度
        (3) 直接测量不同管道、密闭带压容器的压力差值从而换算出液位高度。
        RZ3051-DP系列差压樱桃视频入口在线观看采用模块化设计,由带集成电子适配单元的传感器模块和就地按钮单元的放大器模块组成,其中传感器模块包括差压传感器、绝压传感器、温度传感器,可同时测量差压、绝压、仪表温度,因此RZ3051-DP系列差压樱桃视频入口在线观看具有非常优异的静压特性和温度特性。
          
        RZ3051-DP差压变送器特点-----------------------------------------------------------------------------------
         
        ·具有很强的自诊断能力 量程覆盖宽0-0.1KPa~40.0MPa
        ·精度0.075级,量程比100:1 零点和量程调整互不影响
        ·兼有远程和本地量程、零点调整 具有很强的数据保护和恢复机制
        ·稳定性能好,精度高,阻尼可调,抗单向过载能力强
        ·无机械传动部件,维修工作量少,坚固抗振
        ·全部通用件,更换传感器不影响樱桃视频入口在线观看特性,维护更方便
        ·接触介质的膜片材料可选择 防爆壳体结构
        ·二线制,符合HART协议,可与HART275型及375型手操器进行数字通信而不中断模拟量输出
         
        差压樱桃视频入口在线观看
         
        差压流量樱桃视频入口在线观看


        系统展示----------------------------------------------------------------------------------------------------
         



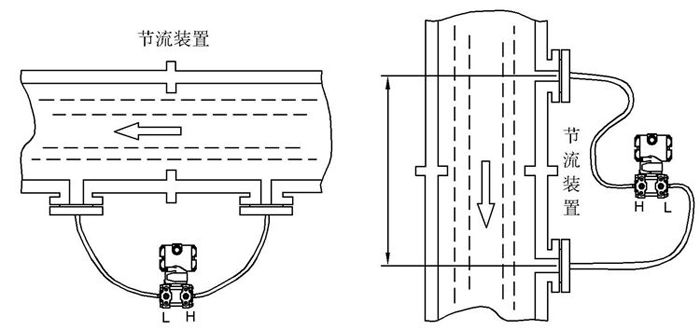
        差压樱桃视频入口在线观看测量液位安装示意图
         
        -----------------------------------------------------------------------------------------------------------------
         

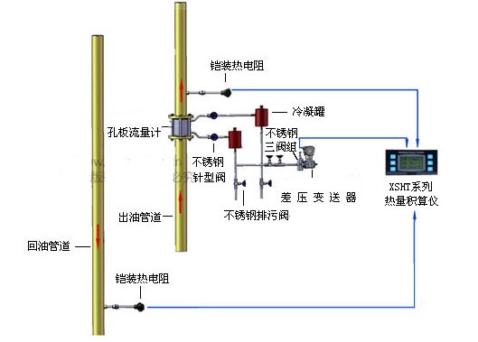
        导热油炉热量计量系统安装示意图
         
        -----------------------------------------------------------------------------------------------------------------
         




        过热蒸汽计量系统安装示意图
         
        -----------------------------------------------------------------------------------------------------------------
         

         
         差压樱桃视频入口在线观看测量流量安装示意图
         


        技术参数-----------------------------------------------------------------------------------------------------
         
        测量介质 液体、气体或汽体
        测量范围 量程代码 量程范围(KPa) 测量范围(KPa)
        3 0.8~7.5KPa -7.5~7.5KPa
        4 1.0~37.4KPa -37.4~37.4KPa
        5 4.7~186.8KPa -186.8~186.8KPa
        6 17.3~690KPa -690~690KPa
        7 51.7~2068KPa -2068~2068KPa
        8 172.3~6890KPa -100~6890KPa
        输出信号 二线制,4~20mADC输出,叠加hart协议数字通讯。
        电 源 24VDC(正常工作电压范围12~36VDC)
        防爆标志 隔爆型:ExdⅡCT6,本安型:ExiaⅡCT6
        防护等级 IP66
        量程比 100:1
        精度等级 0.075级、0.1级
        稳定性 0.075级:36个月误差为*大量程的±0.2%
        0.1级:36个月误差为*大量程的±0.25%
         
          RZ3051-DP系列差压樱桃视频入口在线观看**适用于石油、化工、航空、航天、军工、纺织、冶金、矿山、轻工、医药、电力、环保、市政、食品、卫生等行业和科研领域的全天候恶劣环境下,尤其适用于具有腐蚀性、冲击性、震动性等应用场所。RZ3051-DP差压樱桃视频入口在线观看运用成熟的独特技术生产,是美国、日本原装进口产品的理想替代品。



        差压樱桃视频入口在线观看产品尺寸及安装方式


        差压樱桃视频入口在线观看




        差压樱桃视频入口在线观看



        差压樱桃视频入口在线观看


        液   位  测  量


        差压樱桃视频入口在线观看

        流  量  测  量

        差压樱桃视频入口在线观看


        上一条:没有了!
        下一条:智能差压樱桃视频入口在线观看